
이번에 알아볼 etf는 코스피 200 지수를 추종하는 아리랑(ARIRANG) 200 ETF에 대해 알아보겠습니다.
이 글을 정독하시면 아리랑(ARIRANG) 200 ETF에 대해 잘 알고 계실 겁니다!
[코스피 200 지수를 추종하는 ETF를 모두 다룰 생각입니다!
ARIRANG 200
HANARO 200
KOSEF 200
파워 200
TREX 200
적힌 순서대로 글을 연재할 생각입니다!]
※ 목차
1. 아리랑 200
ㄱ. 아리랑 200
ㄴ. 아리랑 200 자산운용사
ㄷ. 아리랑 200 수익률
2. 아리랑 200 주가
3. 아리랑 200 분배금
4. 아리랑 200 펀드 보수
5. 아리랑 200 구성종목
1. 아리랑 200
ㄱ. 아리랑 200

아리랑(ARIRANG) 200 ETF는 한국거래소에 상장되어 있는 종목 중 유동성, 업종 대표성, 시장 대표성 등을 고려하여 200개 종목을 선정하여 투자함으로써 한국 시장 대표 KOSPI200 지수의 수익률을 추종하는 ETF입니다.
아리랑 200은 2012년 1월 10일에 상장하였습니다.
아리랑 200의 시가총액은 8,002억 원입니다.
상장된 주식수는 19,050,000주가 상장되어있습니다.
아리랑 200은 국내주식형, 대표지수 유형의 ETF입니다.

아리랑 200의 괴리율은 0%대로 거의 0%에 가깝습니다.
아리랑 200 리밸런싱은 연 1회(6월)에 합니다.
ㄴ. 아리랑 200 자산운용사
아리랑 200 자산운용사는 한화자산운용입니다.
ㄷ. 아리랑 200 수익률

아리랑 200 1개월 수익률은 -1.30%입니다.
기초지수의 1개월 수익률은 -1.33%입니다.
아리랑 200과 기초지수의 1개월 수익률은 차이가 거의 없지만 3개월 수익률과 6개월 수익률은 2% 정도 차이가 납니다.
2. 아리랑 200 주가

아리랑 200 주가는 21년 2월 26일 기준 42,005원으로 마감하였습니다.
21년 1월 11일 아리랑 200 주가는 45,632원으로 52주 최고가를 갱신하였습니다.
20년 3월 19일 아리랑 200 주가는 19,539원으로 52주 최저가입니다.
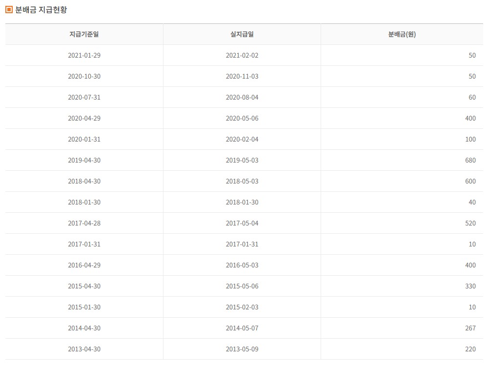
3. 아리랑 200 분배금
코덱스 200은 분배금을 지급하는 ETF입니다.
분배금 기준일은 매 1, 4, 7, 10월 마지막 영업일 및 회계기간 종료일입니다.

2020년에는 100원, 400원, 60원, 50원의 배당금이 지급되었습니다.
가장 최근인 21년 1월 배당금은 50원입니다.
3년 평균 분배금은 623원입니다.
4. 아리랑 200 펀드 보수

아리랑 200 펀드 보수는 연 0.04%입니다.
(집합투자: 0.019%, 지정 참가회사: 0.001%, 신탁: 0.01%, 일반사무: 0.01%로 총 0.04%입니다.)
5. 아리랑 200 구성종목

TOP10 종목에는 삼성전자, SK하이닉스, 네이버, LG화학, 삼성SDI, 현대차, 셀트리온, 카카오, 현대모비스, 포스코가 구성되어있습니다.
그 외에도 기아차, LG전자, LG생활건강, 하나금융지주 등이 있습니다.
이렇게 아리랑(ARIRANG) 200 ETF를 알아보았는데요.
이상 주식하는 20대 청년이었습니다. 감사합니다!
[ETF] - 코덱스(KODEX) 차이나항셍테크 완벽 분석
'ETF' 카테고리의 다른 글
| KODEX(코덱스) K-미래차액티브 ETF 완벽 분석 (2) | 2021.06.06 |
|---|---|
| 코덱스(KODEX) 200 TR 완벽 분석 (13) | 2021.03.05 |
| 코덱스(KODEX) 차이나항셍테크 완벽 분석 (22) | 2021.02.28 |
| 타이거(TIGER) 차이나항셍테크 완벽 분석 (4) | 2021.02.28 |
| TIGER 차이나전기차 SOLACTIVE 완벽 분석 (22) | 2021.02.26 |